- Project Runeberg -  Historisk tidskrift för Skåneland / Första bandet /
83

(1901-1921)
Table of Contents / Innehåll | << Previous | Next >>
  Project Runeberg | Catalog | Recent Changes | Donate | Comments? |   

Full resolution (JPEG) - On this page / på denna sida - Sidor ...

scanned image

<< prev. page << föreg. sida <<     >> nästa sida >> next page >>


Below is the raw OCR text from the above scanned image. Do you see an error? Proofread the page now!
Här nedan syns maskintolkade texten från faksimilbilden ovan. Ser du något fel? Korrekturläs sidan nu!

This page has been proofread at least once. (diff) (history)
Denna sida har korrekturlästs minst en gång. (skillnad) (historik)

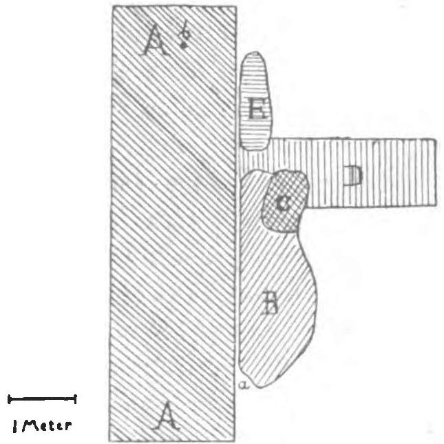
för anläggningen af detta ditfört fyllning af ren sand. Ett lager af
hvit strandsand träffades nämligen längs södra kanten och sträckte



sig ett stycke in under Sjelfva golfvet. Denna fyllning skilde sig
mycket märkbart från den smutsgrå, kolblandade sand, som annars
utgjorde fyllningen i backen, så att det var fullkomligt klart, att den
blifvit ditförd för anläggningen af golfvet. I det hvita sandlagret
gjordes ett egendomligt fynd: i detsamma hade (vid E) blifvit
inbäddade 7 hufvudskallar af nötkreatur.

Omedelbart under det hvita sandlagret träffades ett andra,
äldre golf, som låg omkring 40 cm lägre än det förra. Det
blottlades och det visade sig då, att det var blott en del af det
ursprungliga golfvet, som var bevarad; resten hade blifvit
bortbruten. Den bevarade delen hade en längd af omkring tre meter
och en bredd af föga mer än en meter (B. på fig.). En del af
detta golf hade tjenat som härd (vid C). Leran var här
rödbränd och i densamma hade en fullständig tegelsten och talrika
skärfvor af mur- och taktegel blifvit inknådade. Detta golf
hade i allmänhet en tjocklek af 10 cm; vid härden var det
något tjockare. På detsamma hittades flera lerkärIsfragment
(af röda, simpla kokkärl). På Sjelfva härden låg en samling
stenar, som begagnats som sänkestenar för näten, till antalet 35.
Vid kanten af detta äldre golf hittades ytterligare en samling af

<< prev. page << föreg. sida <<     >> nästa sida >> next page >>


Project Runeberg, Sun Dec 10 08:09:19 2023 (aronsson) (diff) (history) (download) << Previous Next >>
https://runeberg.org/htskanel/1/0113.html

Valid HTML 4.0! All our files are DRM-free